A. SCOPE This specification applies magnetic buzzer, SMD-040020F-03040
B. SPECIFICATION

C. APPEARANCE DRAWING

D.TESTING METHOD
Standard Measurement conditions Temperature:25±2℃ Humidity:45-65%
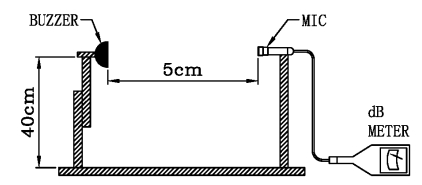
Acoustic Characteristics: The oscillation frequency, current consumption and sound pressure are measured by the measuring instruments shown below

In the measuring test, buzzer is placed as follows:

E. Typical Frequency Response Curve

F. Recommend Driving Circuit

The base current Ib should high enough so that it saturates the collector current of the transistor with the CB load.
G. Soldering Condition (1)Recommendable reflow soldering condition is as follows (Reflow soldering is twice) Note:It is requested that reflow soldering should be executed after heat of product goes down to normal.

Heat resistant line (Used when heat resistant reliability test is performed) (2)Manual soldering Manual soldering temperature 350 ºC within 5 sec.
H. RELIABILITY TEST
